Universal
Combination Drive: Philips/Slot
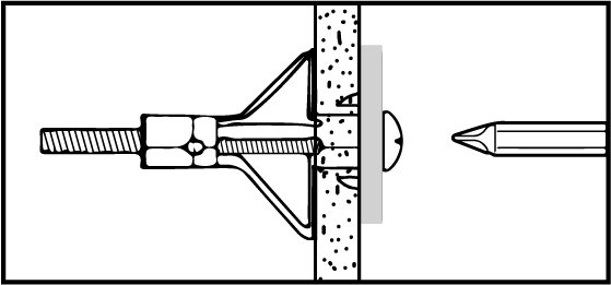
Cavity Fixing: Plasterboardand other hollow wall materials
Barbs: Anti-rotational spikesbuilt onto the flange to prevent the anchor from spinning
Cracked concrete
Concrete
Solid brick
Solid sand-lime brick
Hollow sand-lime brick
Aerated concrete block
Hollow brick
Plasterboard
Cabinets, brackets and wall brackets
Doors and windows
Electrical Installations
Gates
Handrails
Satellite dishes
Ventilated facades